FXMQ-P7 / FXMQ-MB Yüksek ESP'li gizli tavan tipi ünite
Geniş alanlar için idealdir FXMQ-P7: 200 Pa'ya kadar çıkan ESP değerleri
› Özel olarak geliştirilen DC fan motoru sayesinde daha düşük enerji tüketimi sağlanır
› Kablolu kumandayla ESP değiştirebilme imkanı, hava debisinin optimizasyonunu sağlar
› 200 Pa'ya kadar yüksek seviyedeki statik basınç, farklı uzunluklardaki kanal ve menfez ağına imkan tanır
› Asma tavan içerisine dikkat çekmeyecek şekilde monte edilebilir: dışarıdan yalnızca emiş ve üfleme menfezleri görülebilir
› Aynı sisteme taze hava girişi entegre edilmiş ve böylece ilave bir havalandırma ihtiyacı ortadan kaldırılarak montaj maliyeti düşürülmüştür

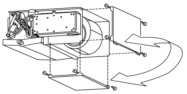
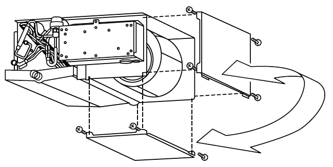
› Hava emme yönü arkadan emme yerine aşağıdan emme şeklinde değiştirilebildiğinden esnek montaj sunar

Serbest kullanım veya opsiyonel emiş menfezlerine bağlantı arasında seçim yapılabilir

› 625 mm basınç yüksekliğine sahip standart dahili drenaj pompası esnekliği yükseltirken, montaj süresini kısaltır

FXMQ-MB: 270 Pa'ya kadar çıkan ESP değerleri
› 270 Pa'ya kadar yüksek seviyedeki statik basınç, farklı uzunluklardaki
kanal ve ızgara ağına imkan tanır
› Duvara dikkat çekmeyecek şekilde monte edilebilir: dışarıdan yalnızca
emiş ve deşarj ızgaraları görülebilir
› Geniş kapasiteli ünite: 31,5 kW'a kadar ısıtma kapasitesi 
